Мы используем cookie для наилучшего представления нашего сайта. Подробнее об этом в Политике конфиденциальности.
Ок

Тобольск

Ваш город:
Тобольск (Тюменская область)?
Нет
Да
Каталог
Каталог Написать в WhatsApp
Мотоэкипировка

Шкив подсборка ДВИГАТЕЛЯ L1P75CVT-PRO

Для ускорения поиска, Ты можешь ввести здесь часть названия детали, например «Поршень»

On-line каталоги

Оригинальные запчасти

Артикул НАИМЕНОВАНИЕ Кол-во деталей в узле Примечание Наличие Цена Аналоги Фото
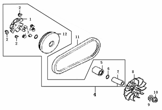
1 192860001-0001 Прижимная крышка грузиков вариатора (паук) 1P75CVT-PRO

Под заказ

1
1

Под заказ

уточнить

Купить
2 192870001-0001 Слайдеры переднего вариатора 1P75CVT-PRO

Под заказ

3
3

Под заказ

уточнить

Купить
3 192840001-0001 ROLLER,WETGHT

Под заказ

6
6

Под заказ

уточнить

Купить
4 192810027-0001 Вариатор передний 1P75CVT-PRO

В наличии

1
1

В наличии

6 800

Купить
5 380821138-0001 Втулка переднего вариатора (A) 1P75CVT-PRO

Под заказ

1
1

Под заказ

уточнить

Купить
6 380560036-0001 Стопорное кольцо 1P75CVT-PRO

Под заказ

2
2

Под заказ

уточнить

Купить
7 192880011-0001 Втулка переднего вариатора (B) 1P75CVT-PRO

Под заказ

1
1

Под заказ

уточнить

Купить
8 192820001-0001 Наружный шкив переднего вариатора 1P75CVT-PRO

Под заказ

1
1

Под заказ

уточнить

Купить
9 380450364-0001 Шайба M12×1.25 1P75CVT-PRO

В наличии

1
1

В наличии

60

Купить
10 380370005-0001 NUT,FLANGE

Под заказ

1
1

Под заказ

уточнить

Купить
11 193000014-0001 Приводной ремень вариатора 801.5 18.2 30 1P75CVT-PRO

В наличии

1
1

В наличии

4 000

Купить
12 194180001-0001 Половина ведущего шкива подвижная 1P75CVT-PRO

Под заказ

1
1

Под заказ

уточнить

Купить

Нулевая цена не означает отсутствие товара. Оформите заказ, и менеджер сообщит вам цену и наличие товара, предварительно запросив их у поставщика

Главная Магазины
Корзина0
Профиль